Az ígéret szép szó, ha betartják, úgy jó – ezen ősigazság mentén folytatjuk az R-30-as vevő bemutatását. Az írást szokás szerint HA8BDE Balás B. Dénes, kiváló technikatörténészünk jegyzi. S ha már nálunk a szó, bevalljuk, a sok fényrajzot azért mellékeljük, hogy a gyűjtők (kevéssé kényeseknek: ápoltak) kellő rálátással bírjanak a részletekre. Utóbbiak ugyanis olykor perdöntőek lehetnek egy-egy alkatrész korának és hovatartozásának meghatározásában. (Példaként őszintén bevallom, ha Dénes nem tölti fel az R-30 antennatalpának képét, tuti egész más készülékre tippelek. 🙂 )

Egy biztos, aki ezt tervezte, nem csekély szépérzékkel is bírt… 🙂
Az adó teljesítménye távíró üzemmódban negyven Watt, távbeszélő üzemmódban tizennégy Watt. Ez a teljesítmény a műszaki leírás szerint 9 méteres antennával távíró üzemmódban harminc-száz, távbeszélő üzemmódban húsz-harminc kilométer hatótávolságot biztosított. A két méteres gépkocsi antennával mozgásban, távíró üzemben, tizenöt kilométer hatótávolságot adtak meg, ugyanakkor távbeszélő üzemi hatótávolságra nem adtak meg adatot. Szerző tapasztalata szerint ez négy-öt kilométerre terjedt. A két méteres gépkocsi antennával állóhelyzetben, távbeszélő üzemmódban tizenöt kilométert adtak meg, ezt azonban az adónak ritkán sikerült teljesíteni, a kezelők ehhez a távolsághoz inkább kilenc méteres, vagy annak rövídített változatát 7,5 méteres antennát építettek. Az adókészülék térfogatának majdnem felét foglalja el a megbízható nagyfeszültségű alkatrészekből felépített és jól kidolgozott antennahangoló egység.

Az R-30 adó (Kollár Ernő felvétele a radiomuseum.hu oldalról)
Gyakorlatilag mindenféle antennához lehangolható az adó, a rendszeresített kettő-kilenc-tizenkilenc méteres antennákon kívül huzalból kifeszített húsz-harminc vagy akár negyven méteres L- és T-antennákat, vagy hat méteres harckocsi-antennát minden probléma nélkül sikerült illeszteni az adóhoz. Az adó előlapján részletes antenna-hangolási táblázat segíti a kezelőt, mely a háromféle rendszeresített antennához 1 MHz-kénti lépcsőben megadja az antennahangoló elemek beállítását.

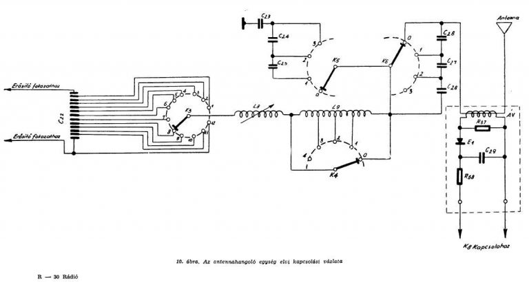
Az antennaillesztő kapcsolási rajza (HA8BDE)

Ugye, nem is annyira bonyolult 🙂 – az antennahangoló egység belső képe (HA8BDE)
Az R-30 rádióállomáshoz tartozó antenna-készletből kétféle antennát lehetett építeni, egy kilenc méterest és egy tizenkét méterest. Az antenna hasonlított az amatőrök által is használt Ground-plain antennához, az egyébként szigetelt és sugárzó árbochoz felül hat méteres ostorantenna, ennek tövénél négy darab vízszintes (tető-) sugárzó huzal csatlakozott. Az árbocot négy irányban kellett kötelekkel és a betoldott sodrott rézhuzalokkal kimerevíteni. A kocsihoz ezenkívül tartozott egy két méteres botantenna alul rugóra erősítve, hogy erdei utakon a faágak csak lehajtsák, de ne szakítsák le. Ez a „gépkocsiantenna” bár az adóval lehangolható volt, meglehetősen hatástalannak bizonyult, minimálisra csökkentette a hatótávolságot. (A szerző 1961 nyarán, más rádióskocsi példáját látva, hat méteres harckocsi-antennát szerelt fel a kocsi tetejére, kenderkötéllel hátra lekötve. Ez a lekötés, városon áthaladva megóvta a kocsit a villamos felsővezetékekkel való érintkezéstől és az antenna menetközben kielégítő hatótávolságot biztosított.)

A hangolási táblázat közelképe (HA8BDE)

Gomberdő – a mai készülékekkel szemben itt mindennek csak egyféle funkciója van (HA8BDE)
Az antennakészlet része volt az ellensúlynak szánt hat darab gumiszigetelésű rézsodrony, amelyet kocsi nélküli településnél (pl fedezékben, mezőn stb.) használni kellett, de a kocsiban szükségtelen volt, mert a kocsifülke és az alváz megfelelő ellensúlyt biztosított. Az ellensúlyok csatlakozási pontjai az antennaszigetelő alsó részén vannak kialakítva.
Visszaemlékezők szerint az R-30 kocsihoz dipol-antennát is rendszeresítettek, melyet a szokásos négy csőelemes (hat méteres) árbócra lehetett felhúzni és kétoldalra ferdén levezetni. Ezt alátámasztja szerző és a gyár rajza is, melyeken látható, hogy a kocsi jobb oldalán két szigetelő harang van egymás mellett felszerelve, nyilván a dipol-létra részére. A szimmetrizálót hasonló dobozba építették be, mint az adó mellé épített antennaátkapcsolót. (A szerző megjegyzése: még a 60-as években több R-30-as kocsit kezeltünk, de sem a szimmetrizálóval, sem a dipol készlettel nem találkoztunk. Vélhetően ritka volt.)

A kilenc és tizenkét méteres antennák talpszigetelője. A szárnyasanyák alá kellett szorítani az ellensúlyok végeit (HA8BDE)

Az R-104 szimmetrizálója – vélhetően efféle lehetett az R-30-é is (HA8BDE)

Az R-30 antennakészlete – mai állapotában (HA8BDE)

Az egyetlen megmaradt R-30-as gépjármű. Tisztán látszik, hogy csak egy szigetelője van… (A HM HIM tulajdona)

…míg a gyári rajzon kettő látható (HA8BDE)

Valahogy így nézett ki eredetileg… (HA8BDE)
E rész zárásaként egy megjegyzés HA5CBM részéről: mint azt korábban is írtuk, korunkra (tudtommal) egyetlen R-30-as híradógépjármű maradt. A HM Hadtörténeti Intézet és Múzeum tulajdonában álló masina jelenleg egy fedett raktárban pihenve várja sorsának alakulását. Mint a fényképeken is szemlélhető, munka lesz vele bőven – ám azt, hogy mikorra készül el, jelenleg nem tudja senki megmondani. Egy részinformáció szerint most ősszel talán nekifognak – egy azonban biztos, az ápoltaknak ünnepnap lesz, ha egyszer beindul, s újra megszólal benne az R-30-as állomás…
A sorozatot pedig hamarosan folytatjuk! 🙂
Baráti 73!
HA8BDE Dénes
és
HA5CBM Miklós
Military Szakosztály
